威旭环保提供燃烧器定制,厂家直销,欢迎来电咨询 —— 专享热线: 4000-133-168


余热锅炉原理、锅炉结构与流程

2022-11-07 19:19:00

余热锅炉原理、锅炉结构与流程

余热燃烧器定制原理、燃烧器定制结构与流程

燃烧器定制的基本原理
下面是燃烧器定制的原理模型图,模型包括上升管、汽包、下降管主要部件。上升管是由密集的管道排成的管簇,由上联箱、下联箱连成一体;上联箱通过汽水引入管连通 汽包,汽包再通过下降管连到下联箱;上升管管簇、汽包、下降管构成了一个环路。上升管管簇在炉膛内,汽包与下降管在炉体外面。

燃烧器定制基本原理图把水注入汽包,水便灌满上升管管簇与下降管,把水位控制在靠近汽包中部的位置。当高温燃气通过管簇外部时,管簇内的水被加热成汽水混合物。由于下降管中的 水未受到加热,管簇内的汽水混合物密度比下降管中的水小,在下联箱形成压力差,推动上升管内的汽水混合物进入汽包,下降管中的水进入上升管,形成自然循环。
汽包原理图上图是汽包(也称锅筒)结构示意图, 汽包是水受热、蒸发、过热的重要枢纽,保证燃烧器定制正常的水循环。上升管内的汽水混合物进入汽包后,通过汽水分离器分离成饱和蒸汽与水,饱和蒸汽通过汽包上方蒸汽出口输出;分离出的水与给水管注入的水再进入下降管。

用来产生饱和蒸汽的上升管管簇称为蒸发器,电厂燃烧器定制还有省煤器与过热器,它们都由管簇组 成。进汽包的水先在省煤器加热,再通过汽包、下降管进入蒸发器,可以提高蒸发器的效率与燃烧器定制的效率。蒸发器生成的饱和蒸汽经汽包输出,再进入过热器加热成 过热蒸汽,用过热蒸汽推动蒸汽轮机运转能保证系统的高效与安全。
燃烧器定制组成原理图余热燃烧器定制的结构与流程
从燃气轮机排出的气体温度高达摄氏600度,仍然具备很高的能量,把这些高温气体送到燃烧器定制,把水加热成蒸汽去推动蒸汽轮机,带动发电机发电,可使发电容量与联合循环机组的热效率相对增高50%左右。这个靠燃气轮机排出气体的余热来产生蒸汽的燃烧器定制称为余热燃烧器定制

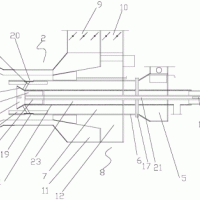
从外观上看燃烧器定制主要有进口烟道、炉体、汽包、烟囱组成。炉体内有密集的管道,给水泵将要加热的水压进这些管道,燃气轮机排出的高温气体将管道内的水加热成高压蒸汽,下面就是余热燃烧器定制的外观图(进口烟道为剖面)。
余热燃烧器定制余热燃烧器定制结构
余热燃烧器定制本体采用模块化结构,以方便运输、安装。模块由管簇组成,是几十根管子组成的蛇形管组件, 模块两端有上联箱与下联箱,是燃烧器定制的受热部件,水在模块内被外部的高温气体加热。
燃烧器定制模块为了更好的传递热量,在管道外表焊上鳍片(也称肋片)来增大管道的传热面积,下图展示的是一小段焊有鳍片的管道。
焊有鳍片的管道打开燃烧器定制的侧壁,可看到内部装有多个模块,实际燃烧器定制有近20个模块,其中多数是蒸发器、省煤器、过热器三类模块,除此还有再热器模块。
余热燃烧器定制剖面图余热燃烧器定制汽水流程
大型燃机电厂采用三压再热循环余热燃烧器定制,汽水系统主要由低压、中压、高压三部分组成,可同时产生低压过热蒸汽、中压过热蒸汽、高压过热蒸汽,分别驱动低压汽轮机、中压汽轮机、高压汽轮机,可最充分的把燃气的热能转换成机械功。

低压部分由低压省煤器、低压汽包、低压蒸发器、低压过热器组成。从凝结水泵来的冷水,通 过低压省煤器预热后输入低压汽包,汽包下面连接着蒸发器,水在低压蒸发器内加热成饱和蒸汽上升到低压汽包。饱和蒸汽从低压汽包输出再通过低压过热器加热, 产生低压过热蒸汽,用来驱动低压蒸汽轮机旋转做功。
余热燃烧器定制汽水流程中压部分由中压省煤器、中压汽包、中压蒸发器、中压过热器、再热器组成。通过低压汽包出来的水由中压给水泵注 入中压省煤器继续加热,然后进入中压汽包,在中压蒸发器内加热成饱和蒸汽上升到中压汽包。从中压汽包输出的饱和蒸汽通过中压过热器加热,然后再与高压汽轮 机排出来的蒸汽混合,一同经过再热器加热,产生中压再热蒸汽,用来驱动中压蒸汽轮机旋转做功。

高压部分由高压省煤器、高压汽包、高压蒸发器、高压过热器组成。通过低压汽包出来的水由 高压给水泵注入高压省煤器加热,然后进入高压汽包,在高压蒸发器内加热成饱和蒸汽上升到高压汽包。从高压汽包输出的饱和蒸汽通过高压过热器加热,产生高压 过热蒸汽,用来驱动高压蒸汽轮机旋转做功。


从燃气轮机排出的气体温度高达摄氏600度,仍然具备很高的能量,用这些气体的热量来产生蒸汽的燃烧器定制称为余热燃烧器定制



余热燃烧器定制主要有进口烟道、炉体、汽包、烟囱组成。在炉体内有密集的管道,给水泵将要加热 的水压进这些管道,燃气轮机排出的高温气体将管道内的水加热成高压蒸汽。大型余热燃烧器定制有低压、中压、高压三部分,可同时产生低压过热蒸汽、中压过热蒸汽、 高压过热蒸汽,分别驱动低压汽轮机、中压汽轮机、高压汽轮机,一起带动发电机发电,可大大增加燃气轮机发电厂的发电量。



大型余热燃烧器定制与燃煤电厂燃烧器定制原理与组成基本相同,主要少了燃料运输粉碎与燃烧系统。


内容来源:燃烧器定制




威旭

威旭环保专注于燃烧器、燃烧机、工业燃烧设备的设计、制造、销售为一体的科技型公司,专业提供燃烧器定制的解决方案,为客户提供完善的售后维保服务。联系电话:4000-133-168

友情链接

© 2021 燃烧器定制 | 网站备案:粤ICP备11069864号